文 | 猎云网,作者 | 王非
需要注意的是,今年3月是嘀嗒出行第五次向港交所递交招股书。自2020年10月首次递表以来,嘀嗒出行冲刺上市可谓“屡战屡败,屡败屡战”。
如今,备案获通过+通过聆讯,也宣告着嘀嗒出行集齐了上市的必要条件,预计该公司将在近期正式挂牌交易。
这也意味着,五兄弟创业十年,从最初的“拼车”拓展到“出行”,有望将“共享出行第一股”收入囊中。
而除了IDG资本、高瓴资本、京东、携程等知名机构,从创业之初就相伴陪跑十年,李斌也将通过获得丰厚回报。![]()
五兄弟
五兄弟从团购干到拼车,获李斌十年陪跑
嘀嗒出行创始人、CEO宋中杰,此前曾担任谷歌中国大中华区销售总监、普元信息COO;还曾服务中国惠普11年,一路做到销售部经理。
离开谷歌中国后,宋中杰找来李金龙、朱敏、段剑波、李跃军,这五兄弟在2010年7月加入“千团大战”,共同创办了团购网站——嘀嗒团。
后来的发展大家都知道,美团与大众点评于2015年10月正式合并。此后,美团一家独大。
早有先见之明的宋中杰,在2014年8月就注册成立了北京畅行信息技术有限公司,次月便上线了嘀嗒出行的前身——“嘀嗒拼车”。
恰如其名,“嘀嗒拼车”专注于顺风车服务,旨在减少私家车出现空座的浪费情况。
华经产业研究院披露的数据显示,2015年,中国顺风车行业市场规模为55亿元;三年后的2018年,即暴增2.5倍至180亿元。预计2025年,中国顺风车行业市场规模达1148亿元,过去十年的复合年增长率为35.51%。
彼时,滴滴、快的、优步仍在“三国杀”,哈啰顺风车甚至哈啰也还没诞生,嘀嗒出行占尽了“先发优势”。
投资人也闻讯而来,押注这一支创业老兵队伍,看好这个一片蓝海的生意。
2014-2018年,嘀嗒出行几乎一年完成一轮融资,投资方包括IDG资本、易车、崇德投资、挚信资本、蔚来资本等。
从易车到蔚来资本,李斌一直站在嘀嗒出行背后,提供着“粮草弹药”。2018年1月,“嘀嗒拼车”正式更名为“嘀嗒出行”,从专注顺路拼车,升级为出租车、顺风车兼具的出行平台,恰就是蔚来资本给出的建议。
甚至有消息在2018年4月称,宋中杰透露,嘀嗒出行已邀请蔚来资本、蔚来汽车董事长和CEO李斌出任董事长,李斌答应了这项邀请。当然,在嘀嗒出行招股书中并未体现这一信息。
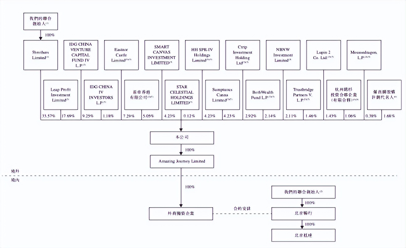
IPO前,蔚来资本通过Leap Profit持股17.69%,通过SMART持股4.23%,蔚来资本的普通合伙人NIO Capital,通过STAR CELESTIAL HOLDINGS持股0.12%;易车(已卖身腾讯)持股5.05%;李斌的家族信托持有股2.11%。
![]()
来源:嘀嗒出行招股书
作为控股股东,宋中杰等五兄弟通过共同控股公司(5brothers Limited)控制嘀嗒出行33.57%股份。宋中杰、李金龙、朱敏、段剑波、李跃军,分别持有5brothers Limited59.33%、10.87%、10.87%、10.87%、8.06%股权。
此外,IDG资本持股10.43%,崇德资本持股7.29%,高瓴资本和京东均持股4.23%、携程持股2.92%。
有业内人士表示,嘀嗒出行数次谋求上市,或许正是为了给投资方谋求一个退出的机会。








快报
根据《网络安全法》实名制要求,请绑定手机号后发表评论
加油
鱼
公积金
三十七
Ccc
Xxx