图片来源@全景视觉
文丨花儿街参考
1
57岁的李志堂站在被告席上,他的家在丽水市莲都区黄村乡李村,他是村委会主任。
他还有另外一个职务——李村发展互助会法定代表人。既然是互助发展,那就先让全村帮助我发展吧。李志堂把互助会账面上的19万转到了自己的账上,展开了丰富多彩的生产经营活动。
他完全不着急把钱还回去,直到钱被挪出来的第七年,这件事被审计了出来。
李志堂赶紧退了20万回去。
多退1万,这个事儿就完了吗?
这个村主任最终拿到的判决书上写着,“被告人李志堂犯挪用资金罪,判处有期徒刑六个月,缓刑一年”。
沈阳31岁,在站上被告席之前,他是普宁二中实验学校八年级十班的班主任。
他把从家长那里收来的20万学费、伙食费,用来自己消费。
在开庭前,沈阳的家属尽力帮他偿还了5万块,普宁二中实验学校向法院请求对沈阳从轻处理。
这位班主任最终拿到的判决书上写着,被告人沈阳犯职务侵占罪,判处有期徒刑一年四个月。
ofo今年5岁,在人间蒸发之前,这家公司的核心团队决定,把来自千万用户的十几亿押金,统统挪用到公司的烧钱扩张中。
![]()
但他们没有犯罪,也不必然要还钱,听说还要再次创业了。
区隔他们与那些罪犯之间的重要界限,是那些被判刑的人,挪用和侵占资金,都是为了实现个人利益。
而ofo的团队挪用用户押金,是为了公司去攻城略地。
只是,这些以公司之名进行的挪用与侵占,难道不是为了铺就个人的财务自由、功成名就之路吗?
2
在公众号“豹变”的报道《ofo生前的最后一个夏天》里,2019年10月,ofo的一名城市经理接到通知,“公司就不做共享单车了,但是资产要清算一下,车子需要变现,不能扔掉”。
这个城市经理找了五家报废厂,公司比价之后选中了一家开价最高的成交——每辆车25元,而ofo每辆车的造价约为260元。
在ofo的app里,那些等着退押金的人,也正在被ofo千方百计地打折处理。
海量的车,海量的人,命运如此雷同。
用户虽然退不了押金,但是也不能白白流失掉,依然可以用来赚钱。
2018年,ofo就给用户指过这样一条路,99元的ofo押金可一键升级为互联网金融平台PPmoney上,100元的特定资产。
![]()
你以为ofo是送你去理财吗?
呵呵,当时互联网金融平台的单个理财用户获客成本,最高可以达到2000元。
后来互联网金融行业全面收紧,ofo的app就变成了一个购物导流网站,在简陋的“全网返利,购物省钱”开屏字幕后,被拖欠押金的用户就跳转进一个多元的购物界面。
![]()
在这里,你可能继续跳转到京东,也可以跳转到拼多多,还可以跳转到各种互金网站借钱。
ofo告诉你,只要你购物,就能返现;按照这里的购物价格,大概花1万多块钱,就能拿回自己的99块押金。
这个世界上不仅有,把你卖了你还帮人家数钱;甚至还有,把你卖了你还继续帮人家赚钱。
拿用户的剩余价值赚来的钱,是为了还用户的押金吗?
3
用户们在微博上喊着要退押金,供应商们发起了真实的诉讼。
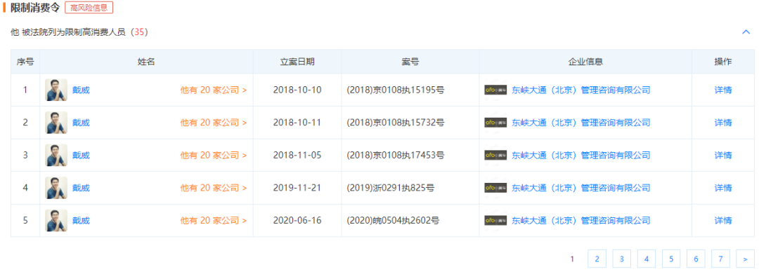
来自企查查数据显示,ofo的运营主体——东峡大通(北京)管理咨询有限公司,涉及未履行金额超过5.09亿元。
而戴威本人,也因此被法院35次限制高消费。
![]()
这恐怕是ofo卖用户、卖小黄车的钱的优先去处,还清了供应商的钱,才能解除掉创始团队自己头上的封印。
至于那1500万等待退押金的用户,无论对着键盘展露出怎样的愤怒,并不会有几人去提起诉讼。
![]()
他们与ofo之间的债务关系,是一种非常不经济的诉讼关系,这是他们的怨气,也是ofo的底气——你若不告,我便不还,告了也是你亏钱。
挪用用户的押金,去完成自己的梦想,并不会产生很大的责任,这事儿戴威是想的很清楚的。
在《ofo生前的最后一个夏天》里,戴威曾经跟团队说,“有一段时间,我比较迷茫,甚至想放弃,但又觉得不能这么结束,还欠着这么多押金,我心里过不去这个坎”。
欠着十几亿押金,十几亿的押金合同违约,十几亿的挪用与占用,在创始人那里,就只是内心的一个坎儿,努努力就能迈过去的那种。
![]()
一个曾经在互联网金融行业的朋友跟我说,“理论上来说,互联网金融卖的理财,如果没承诺保本,那么因为借款人是老赖造成本金不能完全还给理财用户的情况是正常的,然而这个行业不能归还本金的人,今年都进去了。ofo收取的用户押金, 按照合同条款是无论如何都该还的,可是吞了这十几个亿,现在人家都毫发无损地在外面呆着呢”。
2019年年初,徐小平在出席一个论坛时说,当下公司以有限责任公司为主,怎么可以因为创业失败,影响个人生活,或者限制个人生活,这样怎么还会有人去创业,敢去创业。限制戴威坐飞机,是这个时代最大的悲剧。
如果有一天,戴威还清了供应商的钱,解除了限制高消费的封印,顶着用户们十几亿的押金债务,却又可以自由坐飞机了,那可真是一出莫大的喜剧啊。







快报
根据《网络安全法》实名制要求,请绑定手机号后发表评论